*State ofthe Art-Novel InFlowTech 1Gearturbine RotaryTurbo 2Imploturbocompressor From Macro to Micro
Saturday, February 9, 2019
Sunday, November 29, 2015
State ofthe Art-Novel InFlow Tech 1Gearturbine RotaryTurbo Similar Aeolipile 10–70AD 2Imploturbocompressor Similar to a Hurricane Satellite view Work from Macro to Micro
State of the Art - Novel InFlow Tech - Featured Project Development;
------------------------------------------------------------------------------------------------------------------------
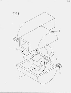
1-GEARTURBINE PROJECT
Rotary-Turbo-InFlow Tech
Atypical InFlow Thermodynamic
Technology Proposal Submission
Novel Fueled Motor Engine Type
*State of the art Innovative concept Top system Higher efficient percent.*Power by bar, for Air-Planes, Sea-Boats, Land-Transport & Dynamic Power-Plant Generation.
-Have similar system of the Aeolipile Heron Steam device from Alexandria 10-70 AD. -New Form-Function Motor-Engine Device. Next Step, Epic Design Change, Broken-Seal Revelation. -Desirable Power-Plant Innovation.
YouTube; * Atypical New • GEARTURBINE / Retrodynamic = DextroRPM VS LevoInFlow + Ying Yang Thrust Way Type - Non Waste Looses
-This innovative concept consists of hull and core where are held all 8 Steps of the work-flow which make the concept functional. The core has several gears and turbines which are responsible for these 8 steps (5 of them are dedicated to the turbo stages). The first step is fuel compression, followed by 2 cold turbo levels. The fourth step is where the fuel starts burning – combustion stage, which creates thrust for the next, 5th step – thrust step, which provides power to the planetary gears and turbines and moves the system. This step is followed by two hot turbo steps and the circle is enclosed by the final 8th step – bigger turbine. All this motion in a retrodynamic circumstance effect, wich is plus higher RPM speed by self motion. The Reaction at front of the action.
*8-X/Y Thermodynamic CYCLE - Way Steps:
1)1-Compression / bigger
2)2-Turbo 1 cold
3)2-Turbo 2 cold
4)2-Combustion - circular motion flames / opposites
5)2-Thrust - single turbo & planetary gears / ying yang
6)2-Turbo 2 hot
7)2-Turbo 1 hot
8)1-Turbine / bigger
-With Retrodynamic Dextrogiro vs Levogiro Phenomenon Effect. / Rotor-RPM VS InFlow / front to front; "Collision-Interaction Type" - inflow vs blades-gear-move. Technical unique dynamic innovative motion mode. [Retrodynamic Reaction = When the inflow have more velocity the rotor have more RPM Acceleration, with high (XY Position) Momentum] Which the internal flow (and rotor) duplicate its speed, when activated being in a rotor (and inflow) with [inverse] opposite Turns. The Reaction at front of the action. A very strong Novel torque power concept.-Non waste parasitic looses for; friction, cooling, lubrication & combustion.
-Shape-Mass + Rotary-Motion = Inertia-Dynamic / Form-Function Wide [Flat] Cylindrical shape + positive dynamic rotary mass = continue Inertia positive tendency motion. Kinetic Rotating Mass. Tendency of matter to continue to move. Like a Free-Wheel.
-Combustion 2Two continue circular [Rockets] flames. [ying yang] opposite one to the other. – With 2TWO very long distance INFLOW [inside propulsion] CONDUITS. -4 TURBOS Rotary Total Thrust-Power Regeneration Power System. -Mechanical direct 2two [Small] Planetary Gears at polar position. -Like the Ying Yang Symbol/Concept.
-The Mechanical Gear Power Thrust Point Wide out the Rotor circumference were have much more lever [HIGH Torque] POWER THRUST. -No blade erosion by sand & very low heat target signature profile. -3 points of power thrust; 1-flow way, 2-gear, 3-turbine. *Patent; Dic. 1991 IMPI Mexico #197187 All Rights Reserved. Carlos Barrera.
———————————————-------------------------------------------------------------------------------------------------------------------------------------
·2-IMPLOTURBOCOMPRESSOR; One Moving Part System Excellence Design - The InFlow Interaction comes from Macro-Flow and goes to Micro-Flow by Implossion - Only One Compression Step; Inflow, Compression and outflow at one simple circular dynamic motion Concept.
*·“Excellence in Design" because is only one moving part. Only one unique compression step. Inflow and out flow at the same one system, This invention by its nature a logic and simple conception in the dynamics flow mechanics area. The invention is a wing made of one piece in a rotating motion, contained in a pair cavity system connected by implocavity, and interacting dynamically with a flow, that passes internally "Imploded" through its simple mechanism. This flow can be gas (air) or liquid (water). And have two different applications, in two different form-function; this one can be received (using the dynamic flow passage, as a receiver). Or it can be generated (with a power plant, generating a propulsion).
An example cut be, as a Bike needs a chain to work from motor to wheel. And for the Imploturbocompressor application, cut be as; in a circumstance at the engine, as an A-activate flow, and with a a tube flow conduit going to the wheel as a B-receiving-flow the work use.
To see a Imploturbocompressor animation, is posible on a simple way, just to check the Hurricane Satellite view, and is the same implo inflow way nature.
And when the flow that is received and that is intended to be used at best, must no necessarily by a exhausting or rejection gas, but must be a dynamic passing gas or liquid flow with the only intention to count it or to measure it. This could be possible at the passing and interacting period when it passes inside its simple mechanism. This can be in any point of the work flow trajectory.
In case the flow that is received is a water falling by gravity, and a dynamo is placed on the rotary bar, the Imploturbocompressor can profit an be obtained by generating? electricity such as obtained by the pelton well, like I say before. The "Imploturbocompressor", is a good option to pump water, or a gas flow, and all kinds of pipes lines dynamic moves.
Or only receive the air-liquid flow, in order to measure its passage with a counter placed on the bar, because when this flow passes through the simple mechanism of a rotating wing made of only one piece it interacts within the implocavities system. And this flow can be air wind, with the difference of can have an horizontal work position, and that particle technical circumstances make an easy way for urban building work new use application, and have wind flow from all the sides 180 grades view. The aforementioned information about this invention refers to technical applications, such as a dynamic flow receiver. (whether being gas or liquid).
With the appropriate power plant and the appropriate dimensioning and number of RPM this invention is also feasible to generate an atmospheric air propulsion and the auto-propulsion of an aircraft. Being an effective and very simple system that implodes and compresses the atmospheric air permits the creation of a new concept of propulsion for aircrafts, due to its simple mechanism and innovative nature. At the place of the aircraft were the system appears and the manner how the propulsion direction can be oriented with a vectorial flow (no lobster tail) with I call "yo-yo system" (middle cut (at the shell) to move, one side loose), guided and balanced is feasible to create a new concept of TOVL-vertical take-off landing, Because the exhaust propulsion can going out radial in all the 360 vectorial positions, going out direct all the time in all the vectors direction. With his rotor cover for an better furtive fly, like going down of a bridge for example.
Likewise, with the due form and dimensioning, and considering the liquid density and the due revolutions for this element there could be generated a propulsion (water) in order to move an aquatic ship, whether on surface or under water. Also can be a good option to pump liquid combustion for a rocket propulsion.
Making a metaphoric comparison with the intention to expose it more clearly for a better comprehension of this innovative technical detail, it would be similar to the trajectory and motion of a dynamic flow compared with a rope (extended) that passes through the system would have now a knot (without obstructing the flow), so the complete way of the flow at the imploturbocompresor system have three direct ways and between make two different turns; direct way (entrance) - turn - direct way (implocavity) - turn - direct way (exit), all this in a 1 simple circular move system concept.
Its prudent to mention that the curves and the inclinations of the blades of a rotating wing made of this invention, is conferred by its shape and function a structural rigidity allowing it to conduct and alter appropriately the dynamic flow passing through its system.
----------------------------------------------------------------------------------------------------------------------------------------------------------------------------------
*PLUS:
·State of the Art Novel Tech Featured Project Development / Satellite & Space Habitat Power Plant Generator Self-Feed Unit; H2O=>HHO=H2O=>HHO=>Etc…
*State of the Art, Novel Technology, Featured Project Development / Space, Satellite and Habitat, Power-Plant, Generator, Self-Feed Unit; H2O=>HHO=>H2O=>HHO=>Etc... *4 Systems All in One Unit, One By One, Plus Four-4 Projects added One to Other; *·1-Gearturbine, ·2-Imploturbocompressor, ·3-Dynamic Generator, ·4-Electrolysis System:
1-GEARTURBINE; Rotary-Turbo-InFlow Tech,Have the similar basic system of the Aeolipilie Heron Steam Turbine device from Alexandria 10-70 AD * With Retrodynamic = DextroRPM VS LevoInFlow + Ying Yang Way Power Type - Non Waste Looses *8X/Y Thermodynamic CYCLE Way Steps. 4 Turbos, Higher efficient percent. No blade erosion by sand & very low heat target signature Pat:197187IMPI MX Dic1991 Atypical Motor Engine Type.
·2-IMPLOTURBOCOMPRESSOR; One Moving Part System Excellence Design - The InFlow Interaction comes from Macro-Flow and goes to Micro-Flow by Implossion - Only One Compression Step; Inflow, Compression and outflow at one simple circular dynamic motion / New Concept. To see a Imploturbocompressor animation, is possible on a simple way, just to check an Hurricane Satellite view, and is the same implo inflow way nature.
*Note;Plus-this-Two Projects to complete all the System Work/Self-Feed Unit Space Power-Plant-H2O=>HHO.
·3-Dynamic Generator/New Kind.
·4-Electrolysis System/BioDesign.
*(3&4-Hide-Cards-on-the-Hand).
----------------------------------------------------------------------------------------------------------------------------------------------------------------------------------
*Traduccion al Español: Tecnología de Flujo Termodinamico Atípica - Proyectos; 1-Turbina de Engrane; Sistema Turbo Rotativo / Retrodynamic = DextroRPM VS LevoInFlow + Ying Yang Thrust Way Type - Non Waste Looses /Es similar en su simple función básica a la Turbina de Herón de Alexandria 10-70AD. / *8-X/Y Etapas de Ciclo Termodinámico / Patente; Dic. 1991 IMPI México #197187 / Con un muy elevado porcentaje de eficiencia. 2-Imploturbocompressor; un concepto perfecto esto debido a que el sistema Solamente consta de una sola peza en movimiento, excelencia de ingeniería mecánica aplicada. Consecuentemente Ademas solamente un paso para aplicar la compression de flujo, compression y salida de flujo en un solo movimiento circular. El flujo va de Macro-flujo hacia Micro-flujo, consuiguiendo una aceleración de flujo. Para ver una animación del sistema del Imploturbocompressor, es muy sencillo, solamente viendo la vista satelital de un huracán.
tecnologia, innovacion, ingenieria, invencion, poder, energia, mecanica, turbina,
*French / Traduccion FRANCES————————————————————————————————-------------------------------------
Novel Technologie État de l'Art Roman InFlow Tech vedette Projet de développement 1Gearturbine 2Imploturbocompressor
1 Gearturbine Novel Rotary Turbo InFlow projet Gearturbine Tech Development vedette
Atypique Gearturbine Retrodynamic Dextrogiro VS Levogiro Effet Ying Yang Thrust déchets perd État Way type non de l'Art Concept innovant Top System pour cent de plus efficace
Son système simple similaires du Heron Aeolipile Steam Turbine Dispositif d'Alexandrie 10 70 AD
YouTube atypique New GEARTURBINE Retrodynamic DextroRPM VS LevoInFlow Ying Yang Thrust type Way déchets perd non
8XY thermodynamiques piste cyclable étapes
Nouveau FormFunction MOTEUR Type de périphérique
Retrodynamic RotorRPM VS InFlow Way Collision type de l'interaction
Non parasite perd pour le refroidissement des systèmes de lubrification combustion
Forme messe mouvement rotatif continuer inertie dynamique tendence positif motion comme une roue libre
Puissance opposée poussée comme le Ying Yang Simbol
Pat 197187 IMPI MX Dic 1991
2 Imploturbocompressor
Un déménagement Système Partie Design Excellence
L'interaction de InFlow vient de Macroflow et va à MicroFlow par Implossion
Une seule étape de compression Afflux de compression et de sortie à un mouvement dynamique simple circulaire Nouveau Concept
Pour voir une animation Imploturbocompressor est posible sur un moyen simple juste pour vérifier une vue satellite ouragan et est le même implo façon d'afflux nature
Tags; puissance, l'énergie, la technologie, l'ingénierie, l’innovation,
__________________________________________________________________________________________________________
Retrodynamic Effect:
Retrodynamic Dextrogiro vs Levogiro Phenomenon Effect. / Rotor-RPM VS InFlow / front to front; "Collision-Interaction Type" - inflow vs blades-gear-move. Technical unique dynamic innovative motion mode. [Retrodynamic Reaction = When the inflow have more velocity the rotor have more RPM Acceleration, with high (XY Position) Momentum] Which the internal flow (and rotor) duplicate its speed, when activated being in a rotor (and inflow) with [inverse] opposite Turns. The Reaction at front of the action. A very strong Novel torque power concept.-Non waste parasitic looses for; friction, cooling, lubrication & combustion.
"Changing rotation inside a mass makes it possible to change its inertial properties. It is the equation for a jet motion without rejection of any mass.” Albert Einstein.
The logic of creation of an inertial propulsion system is thus: “Any motion is rotation ---- Rotation of a matter generates a space-time Torsion ---Torsion of space - time is described by Ricci torsion --- Ricci torsion is an inertial field-----the rest mass of any object is determined by its inertial field---- operating by fields and forces of inertia inside of mass we can create inertial propulsion system which moves according to the equation [m (t) dv/dt =-vdm/dt].
Newton's Third Law of Motion: III. For every action there is an equal and opposite reaction.
———————————-------------------------------------------------------------------------------------------------------------------------------------------------
Retrodinamico en Español:
"Cambio de la rotación dentro de una masa hace que sea posible cambiar sus propiedades inerciales. Es la ecuación para una moción de chorro sin rechazo de cualquier masa." Albert Einstein.
La lógica de la creación de un sistema de propulsión inercial es así: "Cualquier movimiento es la rotación ---- La rotación de una cuestión genera una torsión del espacio-tiempo --- torsión del espacio - tiempo es descrito por Ricci Ricci de torsión --- torsión se un campo inercial ----- la masa en reposo de cualquier objeto está determinada por su campo inercial ---- operativo de campos y fuerzas de inercia en el interior de la masa podemos crear sistema de propulsión inercial que se mueve de acuerdo a la ecuación [m (t ) dv / dt = -vdm / dt].
----------------------------------------------------------------------------------------------------------------------------------------------------------------------------------------------------
Tags: Aero, aerodynamics, aeolipile, alternative, applied, atypical, bang, blow, big, change, combustion, compression, compressor, concept, cycle, design, development, device, dynamic, ecological, efficient, electrolysis, emerging, energy, engine, engineering, flow, gear, gearturbine, generator, idea, imploturbocompressor, in, industry, inflow, information, innovation, invention, investigation, mechanical, momentum, motion, motor, new, next, on, paradigm, power, project, propulsion, reaction, research, retrodynamic, rotary, rotor, scientific, shock, squeeze, suck, system, task, tech, technical, technology, thermodynamic, thrust, tip, top, torque, total, transport, trends, turbine, turbo, turbomachinery, type, unconventional, unlike, unpresedent, vtol, wave, weird,
__________________________________________________________________________________________________________________________________
Links:
Prezi; https://prezi.com/ttmzeer9neeu/state-ofthe-art-novel-inflowtech-development-1gearturbine-2i/#
Gearturbine Facebook; https://es-es.facebook.com/pages/GEARTURBINE-PROJECT/121401317934391
----------------------------------------------------------------------------------------------------------------------------------------------------------------------------------
----------------------------------------------------------------------------------------------------------------------------------------------------------------------------------
Labels:
alternative,
applied,
concept,
design,
development,
efficient,
energy,
engineering,
idea,
innovation,
invention,
mechanical,
paradigm,
power,
project,
technology,
top,
trends,
unlike,
vtol
Subscribe to:
Posts (Atom)




































